The Convertible Roof Is Now Reimagined By Lamborghini
by AutoExpert | 20 August, 2021
The new Countach was introduced this month by Lamborghini and we saw the Ultimae in the coupe and roadster version last month. Lamborghini has filed a patent for a new way of stowing a convertible's folding roof.
This concept was discovered by a user of Ferrari 296 Forum and could be used in future drop-top models. The company is also working on the Countach and Aventador Ultimae coupe and roadster models.

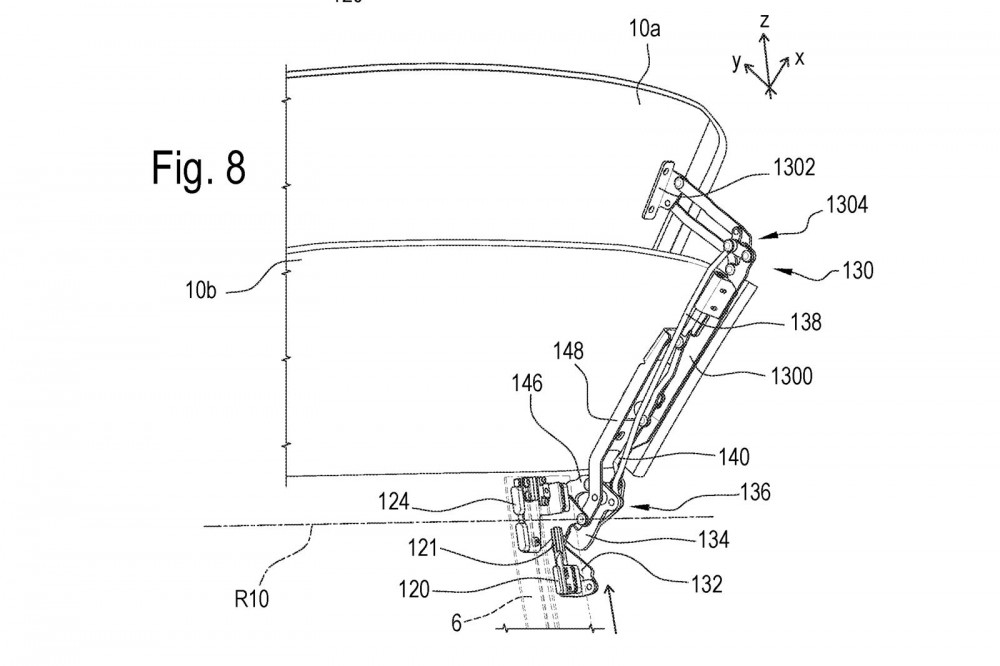
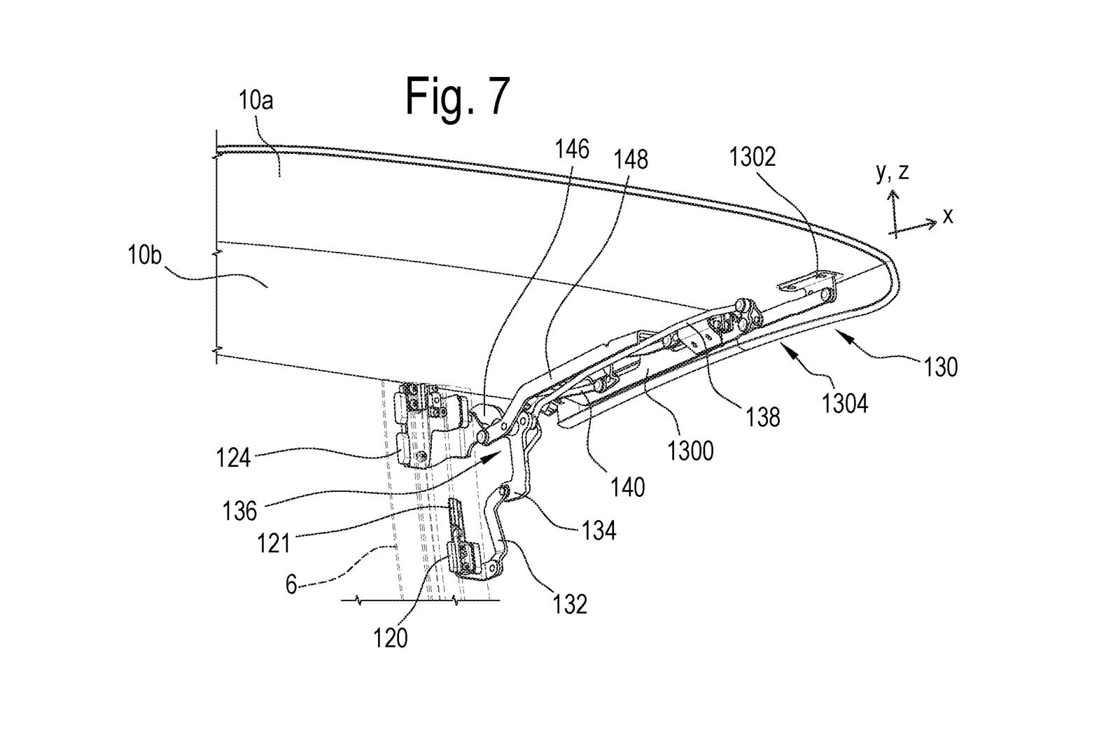
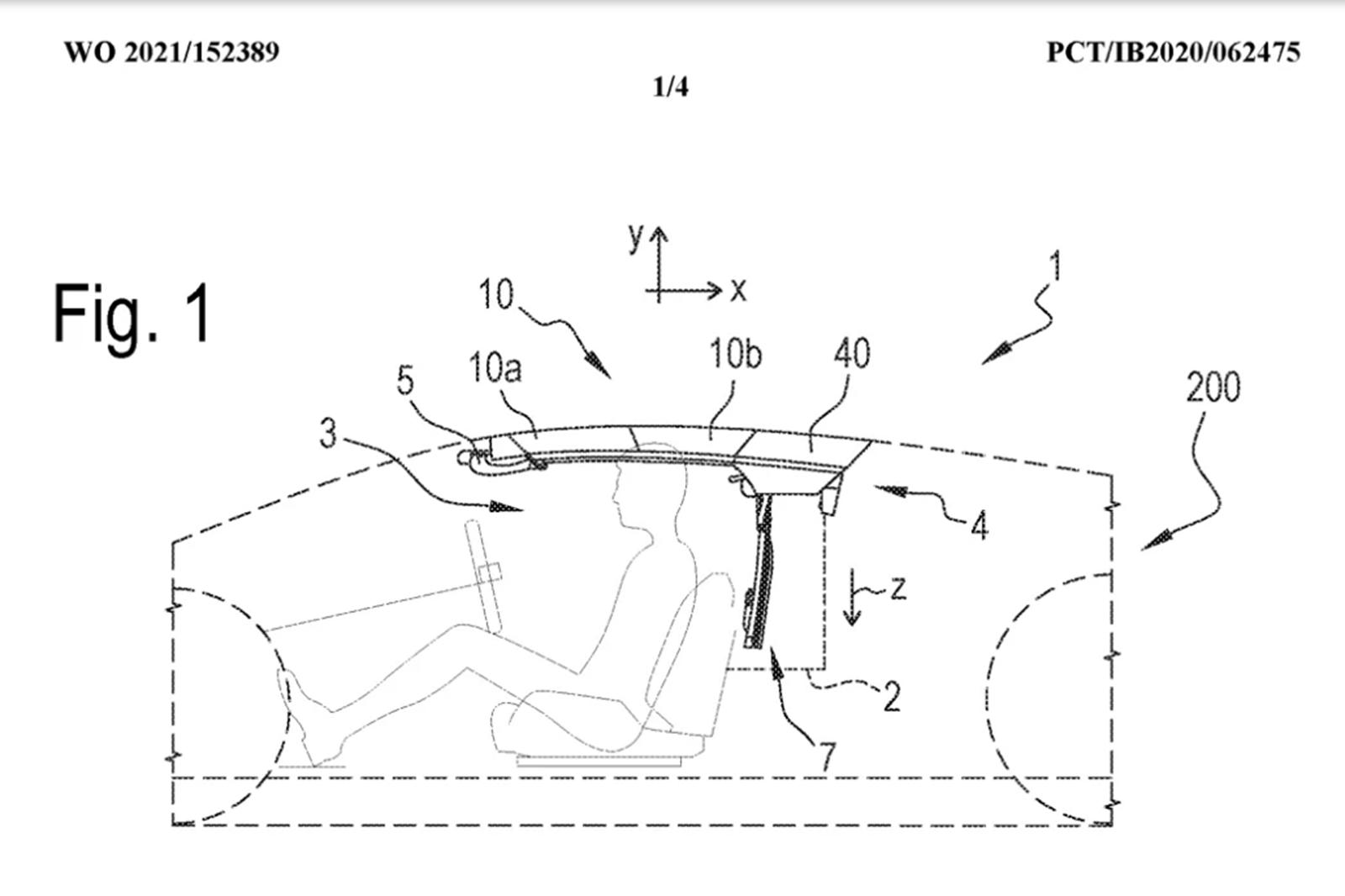
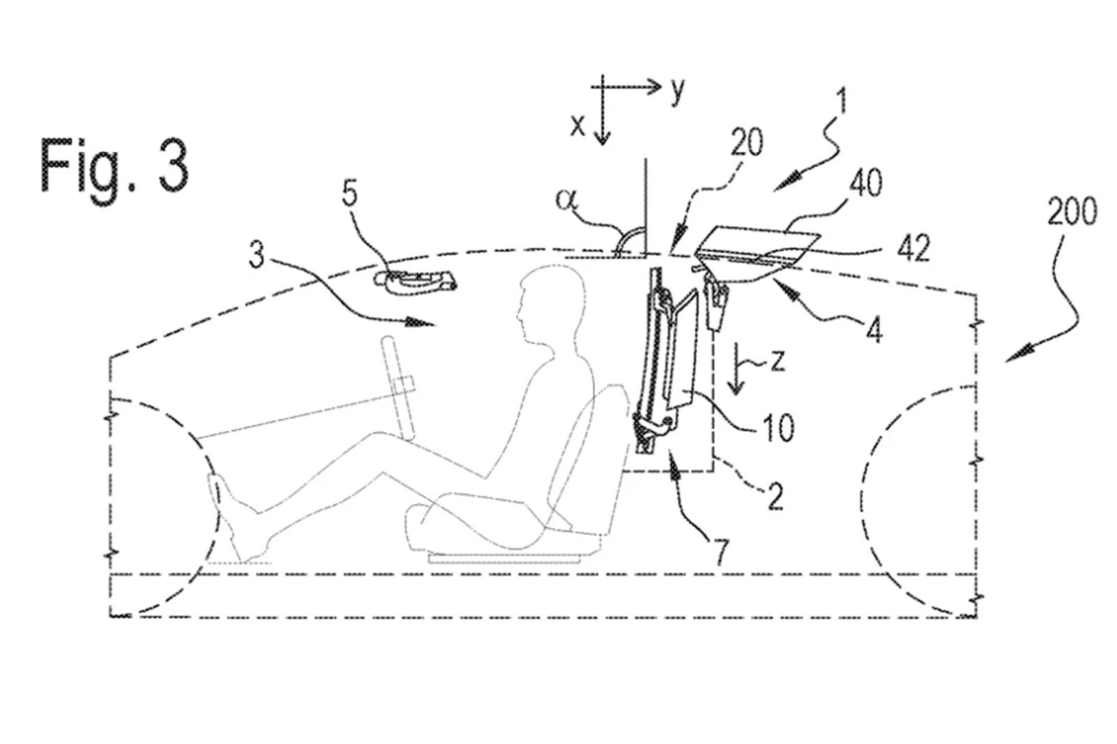
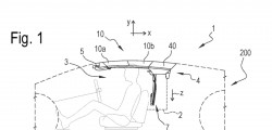
The patent shows a method in which the convertible roof normally lifts up and away from the main body before folding into a thin barrier behind the seats, and ahead of the mid-mounted motor. This folding roof will be used on hardtop convertibles, and it would be divided into two tiny panels, with the front panel sliding parallel to the second as it moves backward, away from the windscreen. As a consequence, the folding of the roof appears to eliminate the need to raise the car's top too high, which might imply that the roof can be operated at greater speeds, but there may be other advantages as well.

By limiting all roof systems to the front/mid of the automobile, this technology looks to revolutionize everything. This, in our opinion, will result in improved weight distribution, a cleaner appearance, and the elimination of the need to re-engineer the whole rear decklid to fit the detachable roof. It's hard to say much more until we see the system in action, but we hope this is another production-ready invention.




