Tiny BMW Logos On Screws? Luxury Or Nightmare For DIY Fans
by AutoExpert | 23 December, 2025
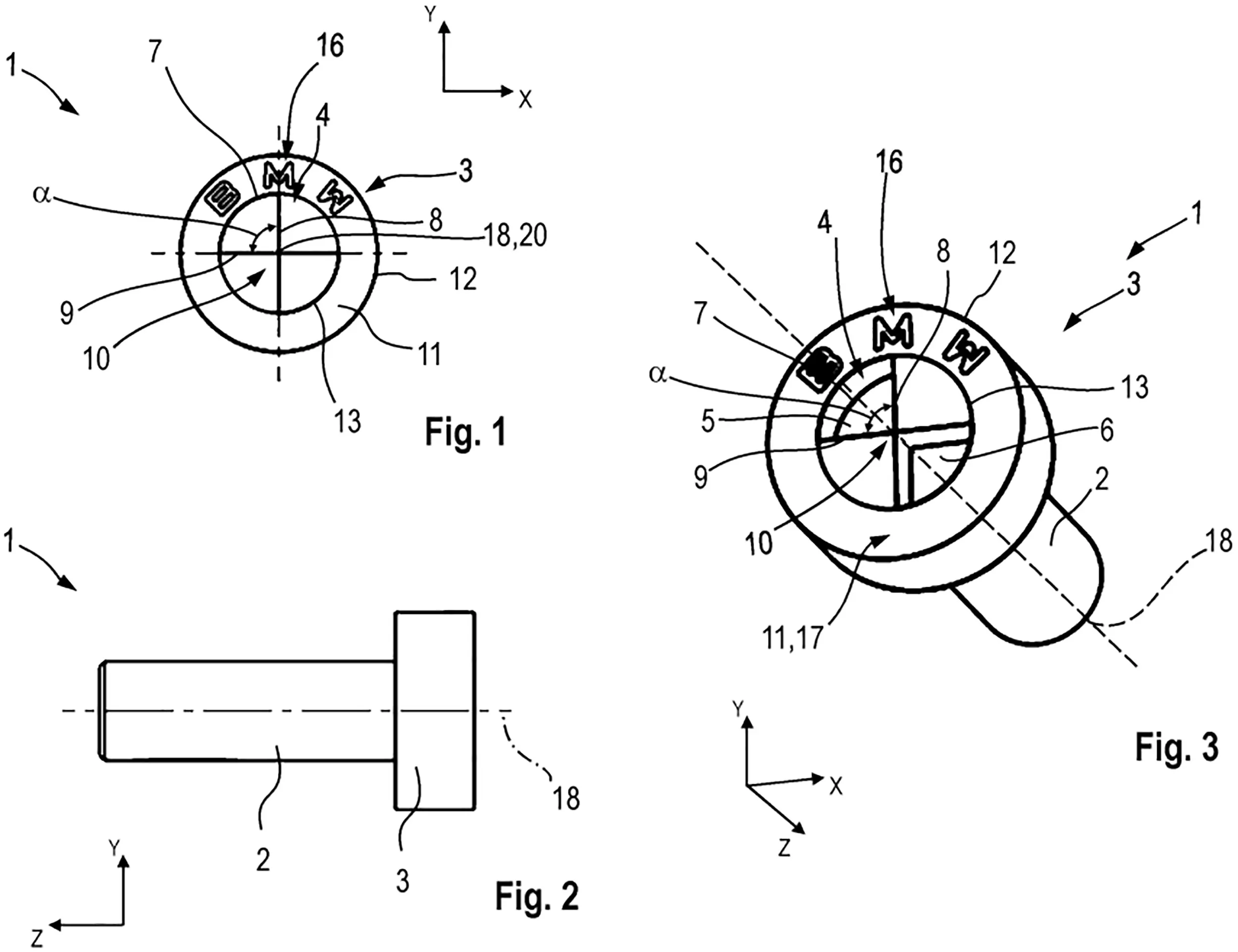
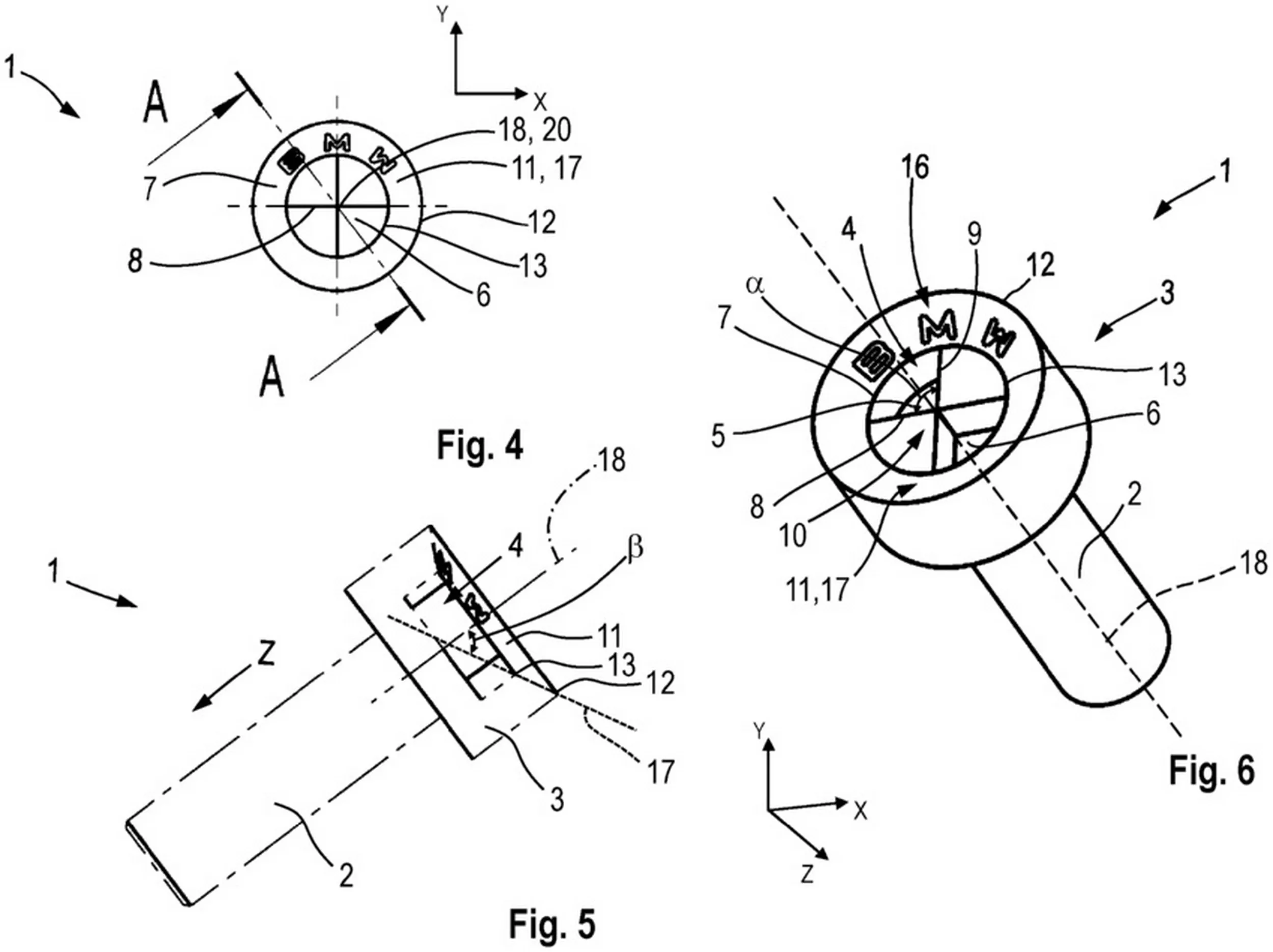
BMW is apparently thinking it’s a good idea to turn all the screws on their cars into tiny versions of their logo. Yep, you heard that right. Their new patent features heads that divide into four sections, similar to the design of the BMW logo. Nice to look at? Sure. Useful? Eh… not sure.
We can totally see it now: you pop the hood, ready to do something simple, grab your screwdriver, and boom- you’re out of luck. None of your normal tools fit.

Suddenly, you’re on Amazon or paying a dealer for some special $50 wrench just to change a light bulb. Feels like BMW is saying, “Congrats, you own a luxury car… now don’t touch it.”

We kind of like the idea of the design. But this is a car, not an art museum. DIYers like ourselves are going to be cursing. One stripped screw, and you have ruined your engine bay. The internet is roasting it already. People are joking about AliExpress knockoffs and 3D-printing them overnight.

Even if these logo screws never hit the street, it says a lot about where cars are headed. Everything’s getting harder to touch, harder to fix. DIY culture? Slowly fading. Dealers and brand-approved tools? Taking over. Gearheads are going to have to get creative, or just watch and laugh.
