Heated And Ventilated Seatbelts Are Coming From General Motors
by AutoExpert | 27 September, 2023
General Motors is stepping up the game with a patent that could revolutionize seatbelts by integrating heating and ventilation using the K.I.S.S. (Keep It Simple, Stupid) principle. This exciting concept has been officially filed with the German Patent and Trademark Office.
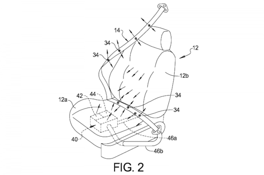
While heated seatbelts aren't entirely new, GM's approach stands out for its simplicity and ingenuity. Instead of adding complex elements, they propose using the car's existing air conditioning or climate control system to create a seamless passenger thermal comfort system, ensuring a cozy interior.

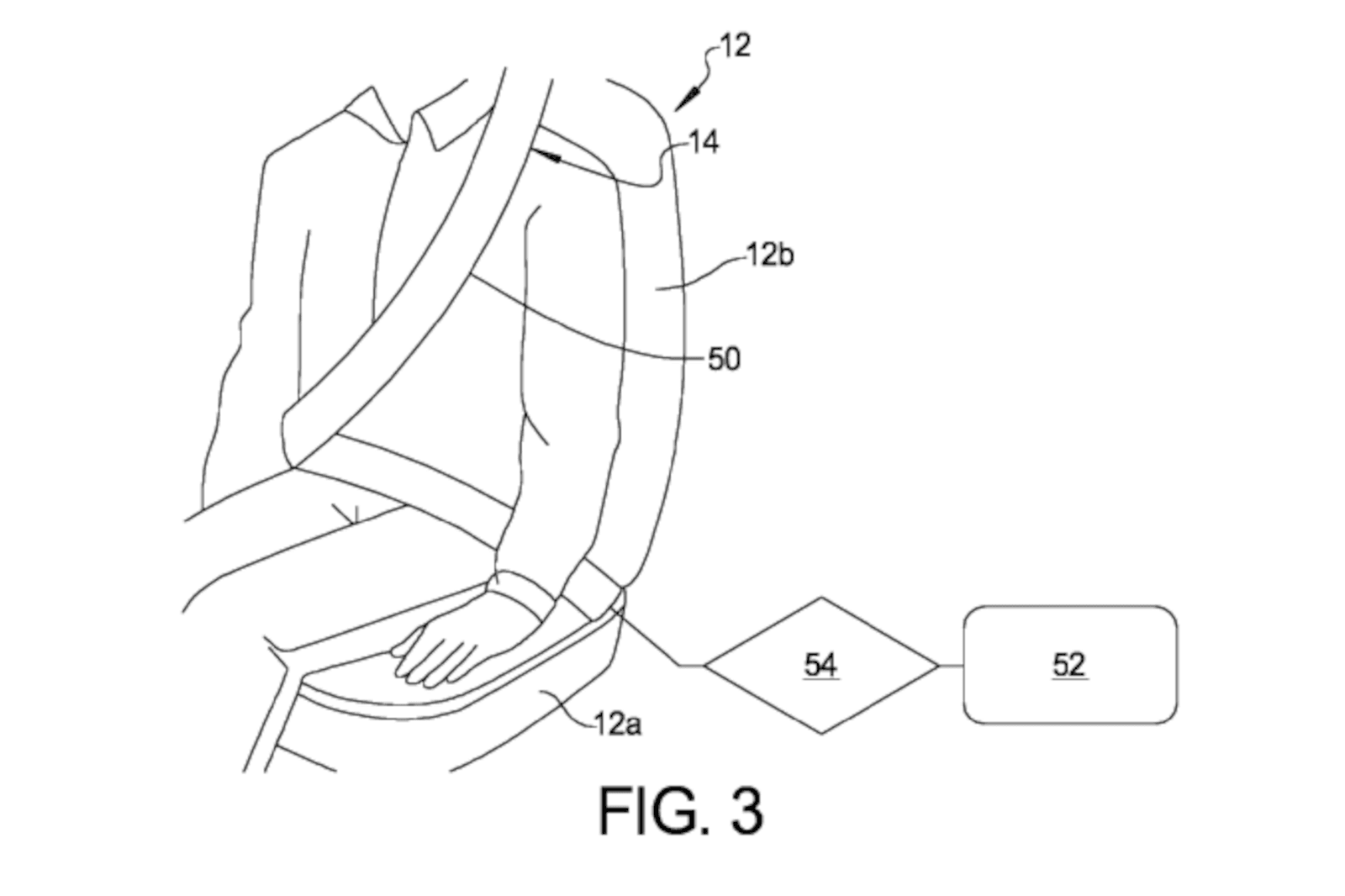
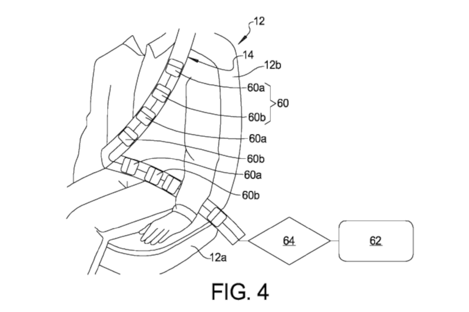
This is especially vital given the diverse temperature ranges vehicles operate in. GM's innovative thermal solution involves combining seatbelts with a porous sleeve linked to the climate control system.
This approach can also extend to integrating heated or ventilated seat bottoms and seatbacks, providing a comprehensive comfort experience. Occupants can tailor their desired temperature, and this preference is then transmitted to the porous sleeve via the climate control system.

Consequently, occupants not only experience a consistent interior temperature but also enjoy a warm or cool seatbelt directly against their body. What sets this concept apart is how it effectively addresses previous concerns about heating elements or heated liquids.
Unlike other methods that may only warm specific areas, the heated air from the porous sleeve covers a broader body area, significantly enhancing overall comfort and safety. GM's forward-thinking patent is truly a game-changer, promising a new level of comfort and innovation for vehicle occupants.



