Ford Will Soon Release A New And Intriguing Accessory
by AutoExpert | 7 September, 2023
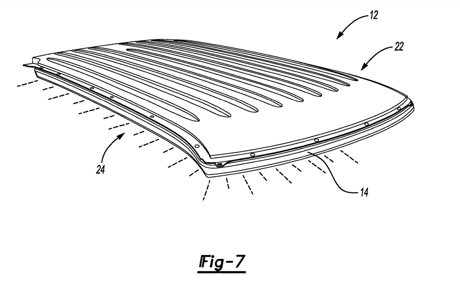
Ford has recently come up with an amazing idea. They've applied for a patent for an advanced lighting system that fits beneath the vehicle's roof. In this design, a continuous light strip runs down the top of the front windscreen and down the sides of the car.
Ford claims this isn't just for electric vehicles like the Mustang Mach-E; it could also be used on other vehicles like the Ford Bronco.
The patent offers many methods for attaching this lighting element to a vehicle. It could be a permanent feature or something that can be removed. The U-shaped design is intended to illuminate the front and sides of the car. This lighting strip, however, can do more than just look nice. When your electric vehicle's battery is fully charged, it may change color, such as blinking green. You can also choose from a variety of colors and patterns, such as a pulsing or fading effect.
Ford also sees practical applications. When approaching your car, the roof lights may illuminate the area surrounding it, possibly using your key or a smartphone-based key. While you lock the car, the lights can gradually fade, which is useful for safety, especially while parking at night in dimly lit areas. While driving, these lights can function as supplementary daytime running lights, increasing visibility.
Ford even hints that new hues could be added via over-the-air updates. Owners can also be inventive. You can create your own locking procedure using certain patterns. For example, the roof lights may blink three times and then gradually fade to your desired color, indicating that your car is safely locked and untampered with.
Furthermore, when the vehicle enters self-driving mode, these outside lights may have a purpose by glowing in a certain manner. The key question is whether this innovative lighting system will become a reality in future vehicles. We'll have to wait and see, but it's certainly an intriguing and potentially extremely helpful feature for the future.
Source: Carbuzz





