Audi Plans To Create Groundbreaking New Suspension System
by AutoExpert | 11 August, 2023
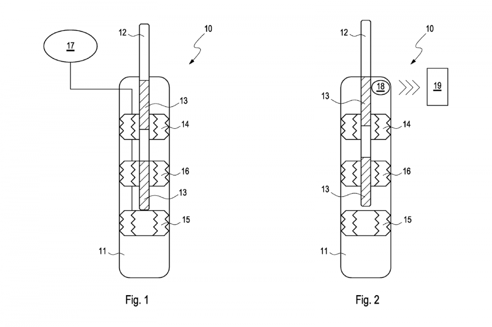
Audi is looking for fresh approaches to improving suspension technology. They just submitted a patent application that describes a novel technique using shock absorbers controlled by induction. This novel idea uses a damper rod inside a damper tube, which sets it apart from existing methods.
Magnetic cores and coils are present inside the damper tube. The magnetic cores interact with the coils as the rod moves, enabling precise damping control that can be fine-tuned. Although this development lacks predictive damping, it is somewhat comparable to the FAST system found in the Ferrari Purosangue.

The possible integration of this inductive system with the existing hydraulic and spring-based dampening systems is an exciting possibility. Additionally, the patent makes a suggestion that the inductive system might operate independently.
The system promises to be both a creative way to use kinetic energy and a better way to control damping, with adaptive damping behavior depending on whether the travel is in compression or rebound. The energy generated by the motion of the dampers can be captured by coils inside the damper tubes and transformed into heat or electrical energy that might then be stored for use later in the suspension system, possibly using a capacitor.
Without a doubt, the advantages are significant. Audi's pursuit of this cutting-edge suspension technology demonstrates a dedication to pushing the envelope in search of improved vehicle dynamics and energy economy, while the potential complexity and extra weight are important considerations.



