BMW Is Rethinking Headrests With A New Neck Support System
by AutoExpert | 23 December, 2025
BMW might have finally admitted what a lot of drivers already know. Our necks take a beating, especially after long drives or one too many hours hunched over a screen. A newly spotted BMW patent reveals the brand's work on a fresh seat design, targeting the awkward gap between the headrest and the seatback. Yes, it is basically a built-in neck support. About time.
Modern car seats already do a lot. They heat, cool, squeeze you in sport mode, and hold you steady when you throw a BMW into a fast corner. They also need to withstand crashes and airbag explosions without disintegrating. Even so, BMW engineers think something is missing. Neck support that actually supports the neck, not just the head.

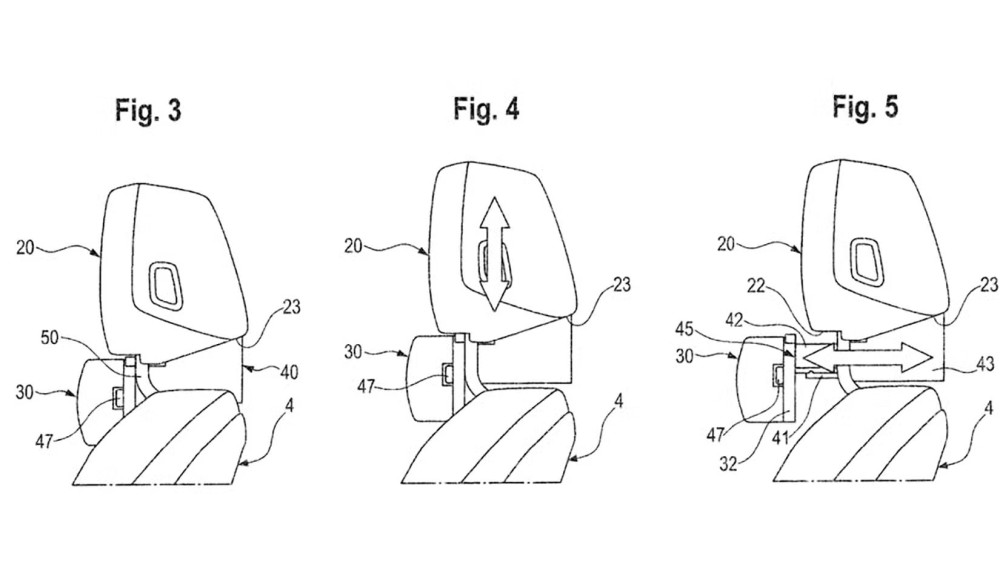
The patent shows an adjustable pad sitting right where your neck floats in midair in most seats. It can move up, down, in, and out, which sounds perfect for people with different body shapes and questionable posture. Anyone who spends their day glued to a laptop knows exactly why this matters.

Safety plays a big role here too. In rear-end crashes, headrests do their job well, and seatbacks do theirs. The neck usually gets stuck in between, taking the hit. This new support would fill that gap and soften the movement, which could seriously lower the risk of whiplash.

BMW also thought ahead and added an overload system. In a hard impact, the support gives a little instead of stopping your neck dead. That means less strain on muscles and bones. Even better, the system is designed to reset afterward, so a small bump does not mean a full seat replacement.

BMW is not alone in caring about necks. Volvo has been leading this game for decades, and Honda played with active headrests years ago. Still, seeing BMW push comfort and safety together feels very on brand. Fast cars are fun. Fast cars that do not wreck your spine sound even better.